آیا در آینده اپل یک iRing می‌سازد؟

زمان مورد نیاز برای مطالعه: ۱ دقیقه

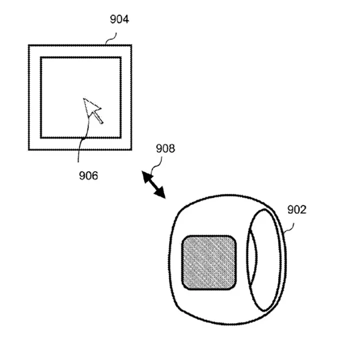
اپل پتنتی را به ثبت رسانده که در آن ویژگی‌های یک دستگاه هوشمند حلقه‌ای ترسیم و تشریح شده است.

در فرودین ماه امسال اپل فرم درخواستی برای ثبت مجوز یک پتنت به اداره‌ی ثبت اختراع و نشان تجاری ایلات متحده‌ی آمریکا فرستاده بود. این پتنت روز گذشته توسط این اداره به ثبت رسید. براساس آنچه که در این پتنت ترسیم شده، این احتمال وجود دارد که اپل یک دستگاه پوشیدنی دیگر به نام iRing معرفی کند. این دستگاه که به یک صفحه‌ی لمسی مجهز است در انگشت کاربر قرار می‌گیرد. در این حلقه یک میکروفون تعبیه شده که به کاربر این مکان را می‌دهد که با سیری ارتباط برقرار کند. همچنین این حلقه یک باتری قابل شارژ هم دارد.

iring

اپل

آن طور که در این پتنت توضیح داده شده، از این حلقه می‌توان به عنوان یک کنترل‌کننده‌ی بی‌سیم برای بازی‌ها و فعال کردن دوربین استفاده کرد. اپل در نظر دارد که علیرغم اندازه‌ی این دستگاه یک اسکنر اثرانگشت هم روی آن قرار دهد تا با سرویس‌های پرداخت موبایلی هم کار کند.

از آنجایی که این تقاضانامه برای یک پتنت طراحی نیست، ممکن است چنین دستگاهی دقیقا شبیه تصاویر ترسیم شده در این پتنت نباشد. همچنین در نظر داشته باشید که یک شرکت نو پا به اسم Ringly هم‌اکنون جواهرات هوشمند ارایه می‌دهد که شامل حلقه‌ای می‌شود که هنگام دریافت تماس‌های تلفنی یا پیام می‌لرزد و چشمک می‌زند تا کاربر را مطلع سازد.

‌‌‌‌‌‌‌‌‌‌‌‌‌‌‌‌‌‌‌‌‌‌‌‌‌‌‌‌‌‌‌‌‌‌‌‌‌‌‌‌‌‌‌

منبع: Phone Arena

بازی آنلاین
برچسب‌ها :
دیدگاه شما

پرسش امنیتی *-- بارگیری کد امنیتی --

یک دیدگاه
  1. عبداله رضوی

    خانم غلامی مرسی
    البته اپل پتنت های بسیاری به اسم خودش ثبت کرده ولی هیچ وقت به تولید انبوه نرسونده… چون اعتقاد به پختگی یک ایده در اپل بسیار بالاست برعکس خیلی از سایت ها و شرکت های دیگه دنیا… موردی که بیخ گوش من و شما هم بسیار است(از نوع نپخنگی ایده ها واسه عرضه)

بازدیدهای اخیر

بر اساس بازدیدهای اخیر شما
تاریخچه بازدیدها مشاهده همه

دسته‌بندی‌های منتخب برای شما

X