در ایده‌ی جدید ایرباس، هواپیماها کابین‌هایی از مسافران را پیاده و سوار می‌کنند

زمان مورد نیاز برای مطالعه: ۱ دقیقه

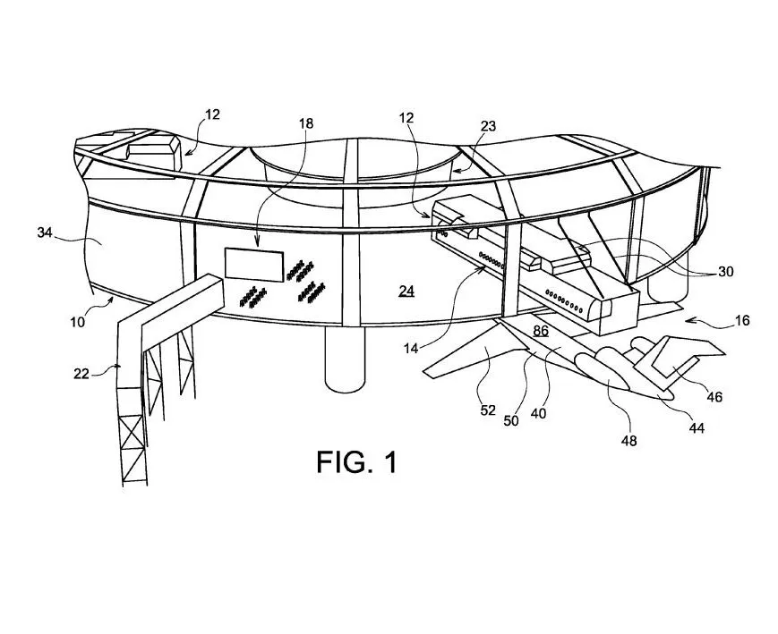
شرکت ایرباس دو سال پیش ایده‌ای را ثبت کرده بود که توسط آن، مسافران می‌توانستند حتی قبل از اینکه هواپیمای‌شان آماده شود، روی صندلی‌های‌شان بنشینند و آماده‌ی حرکت باشند. ایده‌ی ایرباس که در سال ۲۰۱۳ ارایه شده بود، ماشینی را نشان می‌داد که مثل داخل هواپیما بود و مسافران سوار آن می‌شدند. سپس این ماشین بزرگ، روی داخل بدنه‌ی هواپیما قرار داده می‌شد. این ایده‌ی ایرباس، دیروز تایید شده است.

ایرباس ماه پیش ایده‌ای را ثبت کرد که توسط آن، مسافران به معنای واقعی کلمه روی یکدیگر می‌نشستند تا فضا در هواپیما ذخیره شود.

ایده‌ی ثبت شده، کابینی را به تصویر می‌کشد که از یک کف و قسمت بالایی بدنه‌ی اصلی هواپیما که به کف کابین متصل است تشکیل شده. ایرباس ساختار این کابین را در تصویر زیر توضیح داده است. در این حالت، هواپیماها فقط محفظه‌هایی از مسافران را سوار و پیاده می‌کنند.

AirBUS AirBus2

این ایده‌ی جدید ایرباس شاید کمی برای افرادی که از هواپیما می‌ترسند، وحشتناک به نظر برسد، اما هر چه باشد از ایده‌ی ماه گذشته‌ی این شرکت بهتر است. ایرباس ماه پیش ایده‌ای را ثبت کرد که توسط آن، مسافران به معنای واقعی کلمه روی یکدیگر می‌نشستند تا فضا در هواپیما ذخیره شود. ایده‌ی ماه پیش ایرباس در عکس زیر پیدا است.

AirBus_OCTOBER_OLD

این تصاویر و ایده‌ها، در حال حاضر تنها طرح هستند. در نتیجه خوشبختانه هیچ تضمینی وجود ندارد تا این ایده‌ها به زودی به واقعیت بپیوندند.

می‌توانید در ادامه، ویدیویی از این طرح ایرباس را ببینید.

‌‌‌‌‌‌‌‌‌‌‌‌‌‌‌‌

منبع: The Verge

برچسب‌ها :
دیدگاه شما

پرسش امنیتی *-- بارگیری کد امنیتی --

یک دیدگاه
  1. امیرحسین مصطفوی

    اگر می‌تونستن کاری کنن که وقتی حادثه‌ای برای هواپیما پیش میاد و مطمئن میشن که هواپیما نمی‌تونه بشینه، این قسمت از هواپیما به بیرون پرتاب می‌شد و با چندتا چتر به زمین میومد، خیلی باحال می‌شد. مثل جنگنده‌ها که قبل از حادثه می‌تونن اجکت کنن.

بازدیدهای اخیر

بر اساس بازدیدهای اخیر شما
تاریخچه بازدیدها مشاهده همه

دسته‌بندی‌های منتخب برای شما