سرفیس فون احتمالا این شکلی خواهد بود
مایکروسافت در بازار تلفنهای همراه شرایط خوبی ندارد، اما هیچ وقت امیدش از این بازار را قطع نکرد. در واقع این شرکت قصد دارد یک محصول دیگر هم تا چند ماه آینده راهی بازار کند. محصولی که شاید با نام سرفیس فون در اختیار علاقهمندان قرار بگیرد. براساس شایعات منتشر شده این گوشی چهار سال است که در دست ساخت قرار دارد و مایکروسافت کلی به آن امیدوار است. امروز اطلاعات جدیدی از این گوشی به بیرون درز کرده که ظاهر احتمالی سرفیس فون را نشان میدهند.
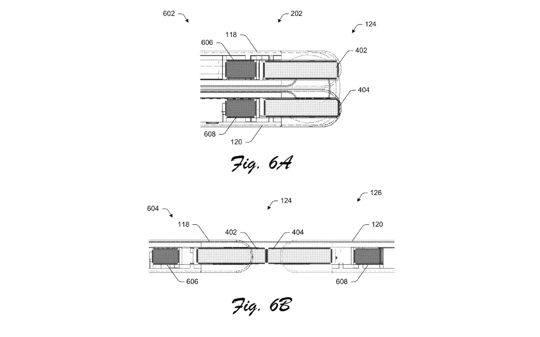
در این پتنتها گفته شده محصول جدید مایکروسافت یک محصول قابل انعطاف است که نقش تلفن همراه و تبلت را ایفا میکند. به نظر میرسد که برای این محصول از ساختار قابل انعطاف استفاده و صفحه نمایشی روی آن قرار گرفته که خم میشود.
البته باید به این موضوع هم اشاره کنیم که پتنتها دلیلی برای عرضهی نهایی یک محصول نمیشوند؛ اما میتوانند برخی از ایدههای یک شرکت برای محصولات بعدی خودش را نشان دهند. البته از آنجایی که گفته شده در سال 2017 محصولات قابل انعطاف بیشتری راهی بازار میشوند، بعید نیست که مایکروسافت هم بخواهد چنین دستگاهی عرضه کند. گفته شده که دو شرکت سامسونگ و الجی هم تا قبل از سال 2018 محصولاتی قابل انعطاف با صحفه نمایشی که میتوان آن را خم کرد، تولید میکنند. در ادامه میتوانید تصاویری از پتنتهای لو رفتهی مربوط به سرفیس فون را ببینید:
منبع: Phone Arena









سلام
مطمئنا این شکلی نییت.
این تصویر فقط داره تاشو بودنشو نشون میده.
خدا نکنه این شکلی باشه ????
نه خدا نکنه من الان دو سال گوشی رده بالا نخریدم به امید یه گوشی خوب از ماکروسافت. اگه این شکلی باشه که حال بهم زن هست. تبلت دیمو هم از این خوشکل تره.
این کلیه هنوز هیچی معلوم نیست که