پتنت جدید مایکروسافت: فقط یک دستگاه به “هی کورتانا” پاسخ می‌دهد

زمان مورد نیاز برای مطالعه: ۱ دقیقه

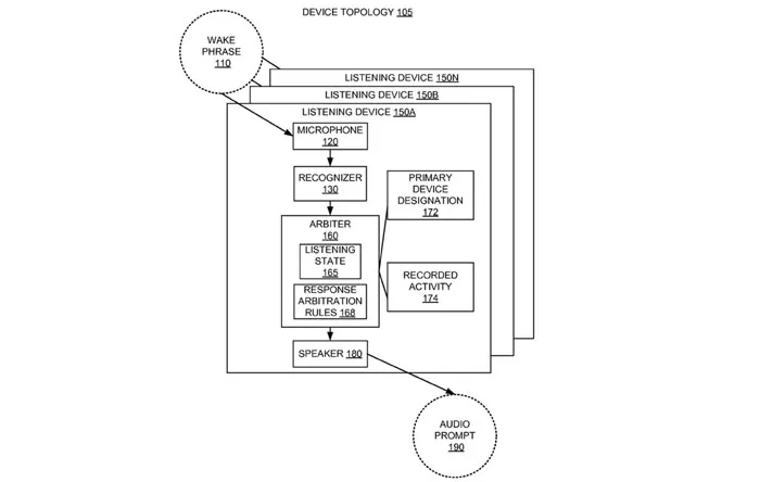
مایکروسافت پتنت یک تکنولوژی را ثبت کرده که از پاسخ گویی همزمان چند دستگاه که دستیار صوتی کورتانا را نصب دارند هنگام گفتن “هی، کورتانا” جلوگیری می‌کند. برای مثال اگر کسی یک گوشی موبایل ویندوز 10، یک مچ‌بند Microsoft Band 2، یک تبلت سرفیس پرو و یک کامپیوتر شخصی ویندوز 10 داشته باشد و از کورتانا چیزی درخواست کند، اگر همه‌ی این دستگاه‌ها در فاصله‌ی مشخصی از او باشند، همه با هم همزمان درخواست او پاسخ خواهند داد.

One-solution-would-allow-the-listening-device-to-call-on-the-capabilities-of-another-Windows-10-powered-device-to-handle-a-particular-task

 برای مثال وقتی برای درخواست تنظیم زنگ ساعت یا تایمر از گوشی استفاده می‌کنیم، ممکن است تنظیمات تایمر یا هشدار دستگاه‌های دیگر هم تاثیر بگذارد. درخواست این پتنت با عنوان Device Arbitration For Listening Devices، به دستگا‌ها امکان می‌دهد پیش از این که کاملا هشیار شوند با یکدیگر حرف بزنند. بعد از این که با هم صحبت کردند، دستگاه‌ها به نتیجه می‌رسند که کدام یک باید این وظیفه را به عهده بگیرد. مثلا وقتی پشت کامپیوتر شخصی‌تان در حال تایپ هستید، گوشی موبایل ویندوز 10 شما باید کلمه‌ی رمزی که آن را به صدا در می‌آورد را نادیده بگیرد.

مایکروسافت-کورتانا

مثال دیگر دستگاهی که نمی‌تواند یک وظیفه‌ی ویژه را انجام دهد باید این قابلیت را داشته باشد که وظیفه را به دستگاهی که قادر به انجام آن است محول کند. تصور کنید شما در حال تایپ با کامپیوتر شخصی خود هستید و می‌‌‌خواهید یک تماس بگیرید. می‌گویید “هی، کورتانا، با مامان تماس بگیر”. در این شرایط، کامپیوتر شما درخواست را به گوشی‌تان تحویل می‌دهد.

منبع: Phone Arena

کانال تلگرام دیجی کالا مگ

بازی آنلاین
برچسب‌ها :
دیدگاه شما

پرسش امنیتی *-- بارگیری کد امنیتی --

بازدیدهای اخیر

بر اساس بازدیدهای اخیر شما
تاریخچه بازدیدها مشاهده همه

دسته‌بندی‌های منتخب برای شما