سونی پتنت یک کنترلر شبیه دستکش را به ثبت رساند
شرکت سونی (Sony) پتنت یک کنترلر را به ثبت رسانده که سیستم آن بر اساس طرح دستکش طراحی شده و از لحاظ ظاهری شبیه به پاورگلاو (Powerglove) است.
پاورگلاو یک دستگاه جانبی برای بازی است که اولین بار در سال ۱۹۸۹ توسط شرکت Nintendo Entertainment System روی دستگاه نینتندو عرضه شده بود. این دستکش بر مبنای شبیهسازی واقعیت مجازی طراحی شده بود و از لحاظ دقت و سهولت کاربری، نتوانسته بود رضایت کاربران و متخصصان را جلب کند.
با اطلاعات درجشده در این پتنت، چنین تصور میشود که طرز کار دستگاه بسیار شبیه به کنترلر حرکتی PS3 Move باشد.
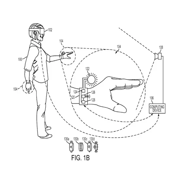
اما سیستم عملکرد دستگاهی که سونی پتنت آن را به ثبت رسانده، بسیار متفاوت است. این دستگاه دارای حسگر انعطافپذیری است که حرکت یک انگشت را دنبال میکند. به علاوه یک حسگر تماسی مجزا هم دارد که وقتی کاربر یک جسم فیزیکی را لمس میکند، به کار میافتد. همچنین این سیستم دارای ماژول ارتباطی هم هست که تمام این اطلاعات را به هدست واقعیت مجازی ارسال میکند. این هدست تجربهی واقعیت مجازی را شبیهسازی میکند.
در محتوای پتنتی که برای این دستگاه ثبت شده، چنین درج شده: «یک جسم قابل ردیابی که در زمان تعامل کاربر با آن، قابلیت روشنشدن دارد؛ به همراه حداقل یک حسگر داخلی برای انتشار اطلاعات دریافتشده.»

با اطلاعات درجشده در این پتنت، چنین تصور میشود که طرز کار دستگاه بسیار شبیه به کنترلر حرکتی PS3 Move باشد.
در این صورت کاربر میتواند ضمن اینکه دستکش را پوشیده، آزادانه اجسام را لمس کند، آنها را جابهجا کند، پاس بدهد و سایر حرکتهای فیزیکی را به راحتی انجام بدهد.
باید در نظر داشت که صرفا با ثبت یک پتنت توسط یک شرکت نمیتوان از تحقق ایده و تولید آن دستگاه مطمئن بود. البته از سوی دیگر میدانیم که این روزها بازار واقعیت مجازی و تولید دستگاههای مرتبط با این بخش داغ است.

دستکش پاورگلاو -Powerglove-
منبع: Engadget