اپل پتنتی ثبت کرده که می‌تواند ماژول دوربین آیفون را باریک‌تر کند

زمان مورد نیاز برای مطالعه: ۲ دقیقه

یک چیزی که در این سال‌ها در دنیای گوشی‌های هوشمند مدام پیشرفت کرده، دوربین آن‌ها بوده است. هرسال شرکت‌های مختلف جدیدترین نوآوری‌های سخت‌افزاری و حتی نرم‌افزاری خود در زمینه عکاسی و فیلم‌برداری با موبایل را عرضه می‌کنند. امسال مخصوصا شاهد بودیم که سه شرکت اپل، گوگل و هواوی، چقدر در این مسیر گام‌های درستی برداشته‌اند. در حالی که سنسورهای موبایلی نیز در حال بزرگ‌تر و بهتر شدن هستند، لنزهایی که در مقابل آن‌ها قرار می‌گیرد نیز بهتر می‌شود و در نهایت، نرم‌افزار و الگوریتم‌ها، دوربین‌های موبایلی را به حد اعلا می‌رسانند. حالا، پتنتی از طرف اپل ثبت شده که نشان می‌دهد این شرکت چطور می‌خواهد دوربین‌های پریسکوپی را در آیفون پیاده سازی کند تا بتواند ضخامت کلی ماژول دوربین را، کاهش دهد.

تا به امروز، دو شرکت چینی اوپو و هواوی گوشی‌های خود با دوربین‌های پریسکوپی را به نمایش گذاشته‌اند. دوربین پریسکوپی در این گوشی‌ها می‌توانند تا پنج برابر زوم اپتیکال را برای گوشی به ارمغان بیاورند که فوق العاده است.

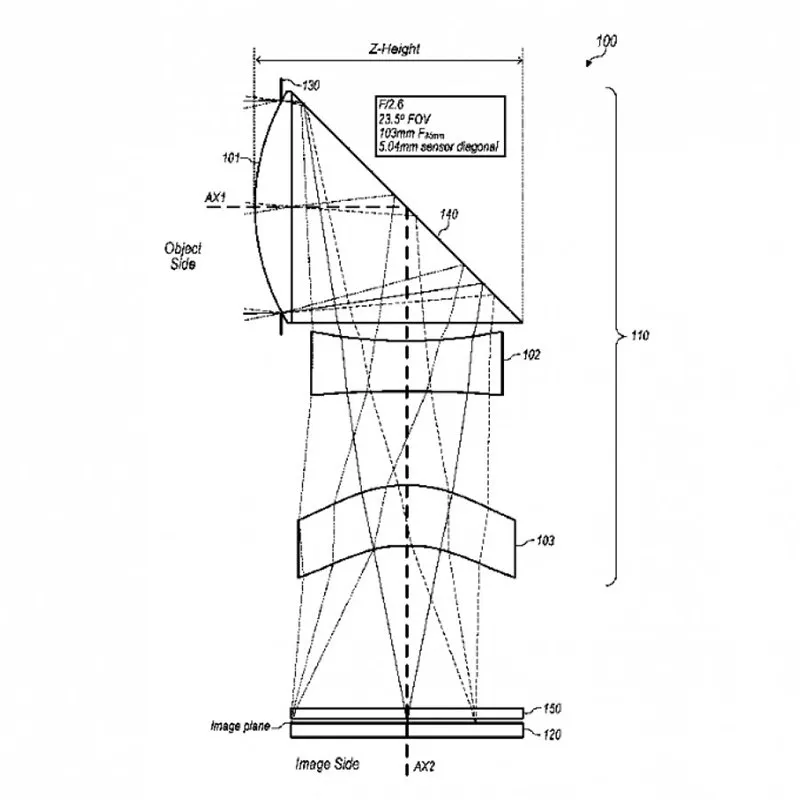
در این پتنت‌ها، اپل اسم این نوع دوربین را Folded Lens System گذاشته که در یکی شاهد سه عدسی لنز و در دیگری شاهد پنج عدسی برای لنز دوربین هستیم. در جلوی این عدسی‌ها نیز یک منشور یا پریسکوپ قرار گرفته که نور را نود درجه می‌چرخاند تا به از لنزها رد شوند و به سنسور برسند.

با قرار دادن لنزها به این شکل، اپل می‌تواند فاصله بین عدسی‌های لنز و سنسور را بیشتر کند و در عین حال، به ضخامت ماژول دوربین اضافه نشود. با این کار هم لرزشگیر لنزها می‌تواند بهتر شود و هم می‌توان لنزهایی با فاصله کانونی زیاد ساخت.

دوربینی که با سه عدسی پتنت شده، می‌تواند فاصله‌های کانونی بین 80 تا 200 میلی‌تر رو پوشش دهد که معادل زاویه دید 18 الی 28 درجه می‌شود و درواقع یک دوربین تله فوتو عالی برای گوشی می‌سازد. ماژول‌هایی که 5 عدسی دارند نیز می‌توانند فاصله کانونی بین 28 تا 41 میلی‌متر بسازند که نسبت به دوربین‌های فول فریم، معادل لنز 50 الی 85 میلی‌متری می‌شود.

آنطور که پیش‌تر هم گفتیم، شرکت‌ها همین حالا هم شروع به استفاده از چنین دوربین‌هایی کرده‌اند اما معمولا سراغ زوم 5 برابری رفته‌اند. اپل اما به نظر می‌رسد می‌خواهد از چنین ماژولی برای لنزی تقریبا واید‌تر از نمونه‌های اوپو و هواوی استفاده کند. در نهایت، این به این معنی نیست که در آیفون 12 شاهد چنین دوربینی خواهیم بود. فراموش نکنید که هر سال پتنت‌های زیادی ثبت می‌شوند و اخبار آن‌ها هم منتشر می‌شود اما هرگز رنگ واقعیت به خود نمی‌گیرند و در حد پتنت باقی می‌مانند.

منبع: GSMArena

برچسب‌ها :
دیدگاه شما

پرسش امنیتی *-- بارگیری کد امنیتی --

یک دیدگاه
  1. shahabmp

    چقدرم که اپل دوست نداره دوربین گوشیاش بیرون زده باشن!!!!

بازدیدهای اخیر

بر اساس بازدیدهای اخیر شما
تاریخچه بازدیدها مشاهده همه

دسته‌بندی‌های منتخب برای شما