کیبورد مک‌بوک پرو جدید در مقابل گرد و غبار و زباله مقاوم است

زمان مورد نیاز برای مطالعه: ۱ دقیقه
کیبورد مک بوک پرو

کیبورد مک‌بوک پروهای جدید اپل، حتی از مدل‌های قبلی این لپ‌تاپ‌ها هم بی سر و صداتر هستند. با این حال، اگر به خاطر داشته باشید کیبورد مک‌بوک‌ها به خاطر نفوذ گرد و غبار یا زباله به داخل‌شان، قفل می‌کردند و از کار می‌افتادند. اپل دیروز از مدل جدید مک‌بوک پروهای خود رونمایی کرده و با اینکه مشخصا حرفی از ارتقا کیبوردهای خود نزده بود، ولی با کیبوردهایی بهتر مواجه شده‌ایم.

مشکل نفوذ زباله به داخل کیبورد مک‌بوک‌ها چند سالی است که گریبان کامپیوترهای اپل را گرفته.

مشکل کیبورد مک‌بوک‌های اپل چندان هم کوچک نبود؛ طوری که اپل خودش هم وجود این مشکل را تایید کرد و گفت که مک‌بوک‌های افراد را تعمیر می‌کند. با این حال، مدل جدید مک‌بوک پرو قرار نیست به مشکل برخورد کند؛ حداقل نه به دلیل نفوذ گرد و غبار و زباله به داخل آن.

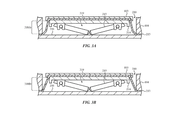
بر و بچه‌های وب‌سایت iFixit که دل و روده‌ی هر دستگاه جدید را بیرون می‌ریزند، همانطور که از آن‌ها انتظار می‌رود، مک‌بوک پرو جدید را هم در روز عرضه‌ی آن باز کرده‌اند. متخصصان وب‌سایت iFixit پس از باز کردن مک‌بوک پرو متوجه شده‌اند که روی تک تک کلیدهای کیبورد، یک محافظ سیلیکونی قرار داده شده است. این محافظ سیلیکونی مانع ورود زباله یا هر چیز دیگری به داخل کیبورد و نهایتا قفل شدن آن می‌شود.

اپل چند ماه گذشته یک ایده‌ی جدید برای جلوگیری از ورود غبار و زباله به داخل کیبورد ثبت کرده بود. گواهی ثبت شده‌ی اپل روش‌های مختلفی را برای این کار توضیح می‌داد. برای مثال، حتی بقایای مایعات، مثل شکر داخل آن‌ها، می‌تواند مانع کار کردن کیبورد شود و اتصالات آن را خراب کند. این ایده‌ی ثبت شده‌ی اپل دقیقا یک لایه‌ی سیلیکونی محافظ را روی کلیدهای کیبورد به تصویر می‌کشید، و اپل دقیقا این ایده را در مک‌بوک پرو جدید خود استفاده کرده است.

کیبورد مک‌بوک پرو

مشکل نفوذ زباله به داخل کیبورد مک‌بوک‌ها چند سالی است که گریبان کامپیوترهای اپل را گرفته. این مشکل از زمان استفاده از سوییچ‌های جدید پروانه‌ای در کیبوردها شروع شد و تا به امروز هم حل نشده بود.

هنوز هم مطمئن نیستیم که آیا این روش جدید اپل، در بلند مدت توانایی محافظت از کیبورد مک‌بوک‌ها را دارد یا نه، ولی در هر صورت شاهد تلاش اپل برای حل این مشکل هستیم؛ تلاشی که اپل حاضر نشده است از آن صحبت کند و به جو شکل گرفته حول این مشکل، دامن بزند.

منبع: The Verge

برچسب‌ها :
دیدگاه شما

پرسش امنیتی *-- بارگیری کد امنیتی --

loading...
بازدیدهای اخیر
بر اساس بازدیدهای اخیر شما
تاریخچه بازدیدها
مشاهده همه
دسته‌بندی‌های منتخب برای شما
X