حلقه هوشمند اپل احتمالا وسیله جانبی برای عینک یا هدست واقعیت مجازی است
اطلاعات منتشر شده نشان میدهند که اپل در حال توسعهی حلقهی هوشمندی است که میتواند یک وسیلهی جانبی باشد یا که همراه با وسیلههایی که بر روی سر قرار میگیرند و دارای نمایشگری در جلوی چشم کاربر هستند مانند عینک هوشمند اپل (Apple Glass)، استفاده شود.
از سال 2015 تاکنون اپل پتنتهای مختلفی را در رابطه با حلقهی هوشمندی ثبت کرده است که کاربران میتوانند آن را در انگشت دست خود قرار دهند. بهتازگی پتنتی توسط اپل منتشر شده که در ادامهی پتنتهای قبلی این شرکت راجع به این حلقهی هوشمند است.
در این پتنت تازه منتشر شده آمده است: «این حلقه یک دستگاه پوشیدنی الکترونیکی است که بهگونهای طراحی شده است تا بر روی انگشت دست قرار گیرد.» همچنین در بخشی دیگری از این پتنت عبارت «دستگاه قرار گیرنده بر روی سر و دارای نمایشگر که توسط کاربر قابل مشاهده است» به چشم میخورد.
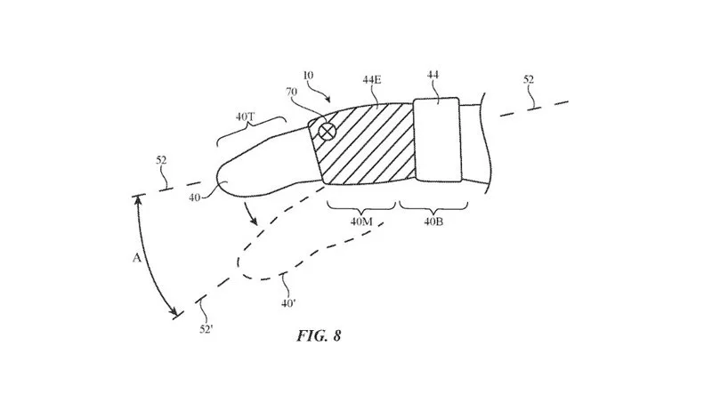
این احتمال وجود دارد که اپل در طراحی این حلقهی هوشمند از لولایی در آن استفاده کرده است که محور چرخش آن موازی با محور طولی انگشت دست است. همچنین به نظر میرسد که زمانی که کاربران این حلقه الکترونیکی را بپوشند یک نشانگر قابل مشاهده و اولین سنسور استفاده شده در آن به جمع آوری اطلاعات ورودی کاربر بپردازند.
علاوه بر این، در این پتنت آمده است که دستگاه قرار گرفته بر روی سر و دارای نمایشگر دارای سنسورهایی است که میتواند نشانگر قابل مشاهدهی قرار گرفته بر روی این حلقه را تشخیص و با استفاده از آن حرکتهای این حلقه و شاید حرکتهای خاص تعریف شده برای انجام دادن برخی کارها را تشخیص دهد.

به نظر میرسد که این حلقهی هوشمند و هم وسیلهی قرار گرفته بر روی سر دارای نمایشگر با استفاده از فناوری ارتباطی بدون سیم به یکدیگر متصل باشند. دستگاه دارای نمایشگر قرار گرفته بر روی سر میتواند که محتوای مجازی را در یک محیط واقعی نشان دهد. همچنین ممکن است که دارای ویژگیهایی برای بهبود نمایش محتوا به این شکل باشد.
در بخش دیگری از این پتنت به چگونگی طرز کار این دو وسیله با یکدیگر اشاره شده و آمده است: «اعضای تشکیلدهندهی این سیستم عبارت هستند از حلقهای که بر روی انگشت کاربر قرار میگیرد. این حلقه دستگاهی است که دارای تجهیزاتی برای فرستادن اطلاعات به دیگر دستگاههای خارجی است. دستگاه دارای نمایشگر قرار گرفته بر روی سر شامل نمایشگری برای نمایش تصاویر است و بهگونهای طراحی شده تا بتواند اطلاعات فرستاده شده از حلقهی پوشیدنی را دریافت کند.»
در ادامه این پتنت میگوید: «تجهیزات به کار رفته در این حلقه و دستگاه دارای نمایشگر قرار گرفته بر روی سر به گونهای هستند که از فناوری ارتباطی دوطرفه پشتیبانی میکنند و تجهیزات کنترلی به کار رفته در دستگاه قرار گرفته بر روی سر با توجه به اطلاعات دریافتی از حلقه، محتوا را به کاربر نمایش میدهند.»
علاوه بر این در بخش دیگری از این پتنت، اپل در رابطه با این حلقه گفته است که از آن میتوان در دستگاههای الکترونیکی دیگر و هدست واقعیت مجازی استفاده کرد.
در این پتنت همچنین آمده است: «تجهیزات الکترونیکی مانند کامپیوترها با استفاده از وسایل جانبی مانند موس و دیگر تجهیزات جانبی کنترل میشوند. در دستگاههای واقعیت مجازی، دستکشهای دارای قابلیت بازخورد نیرو میتوانند برای کنترل کردن اشیای مجازی مورد استفاده قرار گیرند».
این پتنت در ادامه میگوید که: «در تلفنهای همراه از نمایشگر لمسی و موتورهای ویبره برای ایجاد بازخورد در هنگام لمس نمایشگر استفاده شده است.» این پتنت در رابطه با این لوازم میگوید: «استفاده از این دستگاهها ممکن است برای همه کاربران راحت نباشد و بازخورد ارائه شده توسط این دستگاهها در زمان استفاده کافی به نظر نرسد.»

همانگونه گه گفتیم این پتنت اپل در راستای پتنتهای قبلی این شرکت در رابطه با این حلقه هوشمند است. با توجه به این موضوع، بیشتر توضیحات مربوط به چگونگی گسترش این حلقه و پوشش تمامی بخش انگشت توسط آن، همانند دیگر پتنت ثبت شده توسط اپل در گذشته است.
البته این اولین بار نیست که اپل پتنتی را در رابطه با این حلقهی پوشیدنی و دستگاه دارای نمایشگر ثبت میکند. در پتنتی که این شرکت در ماه جولای سال 2020 (تیر ماه 1399) ثبت کرده بود شاهد وجود حلقهی هوشمندی بودیم که میتوانست با دستگاههای دارای قابلیت واقعیت مجازی استفاده شود.
در این پتنت ثبت شده نام دو شخص به نامهای Paul X. Wang و Dinesh C. Mathew بهعنوان مخترعها به چشم میخورد. در گذشته هم شاهد منتشر شدن پتنتهای مختلفی توسط Wang بودیم. به عنوان نمونه نام هر دو این مخترعها در یک پتنت که به ساخت آیمکی با استفاده از یک ورقه شیشه اشاره داشت، آمده بود. همچنین نام Mathew هم به عنوان مخترع در پتنتی آمده بود که به ساخت مکهای اشاره داشت که با انرژی خورشید شارژ میشدند.
منبع: Appleinsider