آیفونهای آینده ممکن است دماسنج داشته باشند
اینطور که به نظر میرسد، اپل در نظر دارد قابلیت جدیدی را به آیفونهای آینده اضافه کند که کاربران به کمک آن قادر خواهند بود دمای محیط را اندازهگیری کنند.
اگر از کاربران و علاقهمندان به محصولات اپل باشید یا حتی شناختی هم از این برند داشته باشید، میدانید گوشیها یا به طور کلی اکوسیستم این شرکت چه قابلیتهایی را از لحاظ سلامتی در اختیار کاربران خود قرار میدهند و چه تأثیری روی زندگیامان داشتهاند. شرکت کوپرتینویی پیوسته در حال اضافه کردن قابلیتهایی نظیر پایش وضعیت خواب، استرس، سنجش اکسیژن خون و چیزهایی از این دست به محصولات خود است (بهخصوص به اپلواچ) تا بتواند به کاربران در کسب اطلاعات لازم راجع به سلامتیاشان کمک کند.
اگر از کاربران آیفون باشید میدانید قابلیت پایش وضعیت قلب در آیفون هم وجود دارد که البته کاملا نرمافزاری است و نه سختافزاری و در نتیجهی وجود یک سنسور مجزا. اما به نظر میرسد در آینده قرار است آیفونها به یک سختافزار جالب و کاربردی مجهز شوند که میتواند توانایی این گوشیها را در بخش پایش سلامت بیش از پیش بهبود بخشد.
اپل بهتازگی پتنتی را تحت عنوان «افزونهی دوربین و پردازش دادههای تصویر برای اندازهگیری دما» به ثبت رسانده که نشان میدهد شرکت آمریکایی به شکل جدی روی قابلیتها و فناوریهای دوربین گوشیهایش سرمایهگذاری کرده تا جایی که میخواهد آنها را قادر سازد تصاویر ثبت شده را برای تعیین دمای سوژه بررسی کند.

در توضیحات مربوط به این پتنت آمده «با توجه به همهگیر شدن گوشیهای هوشمند، این افزونه میتواند یک گوشی را به دستگاهی برای سنجش دما تبدیل کند تا بدین ترتیب کاربران به صورت لحظهای بتوانند از دمای آنچه میخوانند مطلع شوند. این افزونه اما نیازی به برق یا انرژی ندارد و احتمالا روی هزینهی ساخت هم تأثیری نخواهد داشت و میتوان آن را در تعداد زیاد تولید کرد و در دسترس قرار داد».
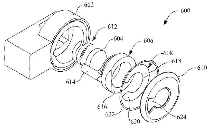
اینطور که به نظر میرسد، این قطعهی سختافزاری قرار نیست بخش داخلی یک آیفون باشد. در واقع اپل آن را به شکل یک افزونهی قابل اضافه شدن به گوشی طراحی کرده تا زمانی که نیاز است بتوانید از آن استفاده کنید. طبق توضیحات پتنت، مثلا یک افزونهی دوربین شامل یک قاب پیکربندی شده برای جفتشدن با دوربین است تا بتواند دما را اندازهگیری کند.
این قاب پیکربندی شده است که تمام فناوریهای سنجش دما را در خود جای داده و گوشی را قادر میسازد دمای آنچه را که مد نظر است اندازهگیری کند. با توجه به متن توضیحات، میتوان دریافت که این قطعهی اضافه شده به دوربین شامل یک مادهی واکنشگر به دما است که به قاب یاد شده متصل میشود. قاب هم بهگونهای روی دوربین تنظیم میشود که این ماده را در عمق میدان دوربین قرار میدهد.
در حال حاضر اپلواچ توسط بسیاری از متخصصین و پزشکان استفاده میشود و به آنها در انجام بسیاری از کارهای مختلف که مهمترین آن پایش وضعیت سلامت بیماران است کمک میکند. اما اگر قابلیت سنجش دما هم به این محصول یا آیفونها اضافه شود، قطعا فرایند انجام بسیاری از فعالیتهای پزشکی که تاکنون با این ابزارها صورت میگرفت آسانتر خواهد شد.
علاوه بر اینها، نمیتوان تأثیر ویروس کرونا روی جامعه را نادیده گرفت. این بیماری باعث شده بسیاری از فعالیتها از راه دور صورت بگیرد و در نتیجه اگر نیاز باشد کاربری برای بررسی وضعیت خود که مهمترین آن چک کردن دمای بدن است به پزشک مراجعه کند، میتواند با کمک این فناوری این کار را درون خانه انجام دهد. حال باید دید کدام آیفون و کدام سری از اپل واچها با پشتیبانی از این افزونه راهی بازار میشوند.
منبع: PhoneArena