اپل برای ساخت لنز پریسکوپی آیفون در حال تحقیق است
اپل بهتازگی پتنتی را ثبت کرده است که نشان میدهد این شرکت بهشدت در حال تحقیق برای توسعهی دوربینی تاشو (پریسکوپی) برای استفاده در آیفون است. گزارشهای مطرح شده نشان میدهند که گویا اپل در حال توسعهی دوربینی تاشو برای آیفونهای بعدی است. همچنین گزارشهایی بهتازگی منتشر شدهاند که نشان میدهند این شرکت به دنبال پیدا کردن تأمینکنندهای برای لنزهای پریسکوپی خود است.
بعد از منتشر شدن این اطلاعات، پتنتی بهتازگی توسط اپل ثبت شده است که بهخوبی نشان میدهد این شرکت در زمان توسعه و تحقیق بر روی این نوع لنزها چه فکری را در سر خود دارد.
در گذشته گزارشهایی منتشر شده بودند که نشان میدادند استفاده از دوربینهای دارای لنزهای تاشو باعث میشود که برجستگی ماژول دوربین قرار گرفته در پشت آیفونها کاهش پیدا کند. البته باید بگوییم که اپل سالهایی زیادی است در حال تحقیق در این زمینه است و تاکنون چندین پتنت را هم در این زمینه ثبت کرده است.
پتنت جدیدی که اپل ثبت کرده است دارای عنوان دوربینی دارای دو المان برای خم کردن مسیر نور است. در این پتنت به طور ویژهای به این موضوع اشاره شده است که در زمان توسعهی یک دوربین باید بتوان تعادل میان دو پارامتر یعنی بهبود دوربین و حفظ اندازهی کوچک آن برای استفاده در آیفون یا آیپد را بر قرار کرد.
در این پتنت آمده است: «ظهور دستگاههای کوچک و قابل حمل با قابلیت انجام کارهای مختلف مانند گوشیهای تلفن همراه یا تبلتها باعث شده است که تقاضا برای استفاده از دوربینهایی با رزولوشن بالا، کوچک و سبک وزن که قادر به ثبت عکسهای با کیفیت و با رزولوشن بالا باشند، افزایش پیدا کرده است. همچنین این دوربینها برای دستیابی به این خصوصیات باید دارای عدد گوشدگی دیافراگم کوچکی باشند.»
در ادامه این پتنت میگوید: «استفاده از تکنولوژیهای مرسوم در زمان توسعهی دوربین دارای محدودیتهایی است. استفاده از دوربینهای مرسوم در این دستگاهها باعث میشود که دوربین به کار رفته در این دستگاهها تنها بتواند که عکسهایی را با رزولوشن پایین یا با کیفیت پایین، در مقایسه با دوربینهای بزرگتر و با کیفیت بالاتر، ثبت کند.»
اپل میگوید کارهایی که در زمان توسعهی یک دوربین باید انجام شود این است که باید از یک سنسور ثبت عکس که دارای پیکسلهای کوچکی است به همراه با یک سیستم لنز کامپکت استفاده کرد. اما بعد از توسعهی این دوربینها، رفتهرفته تقاضا برای نمونههای بهتر و دارای کیفیت بالاتر افزایش مییابد.

این پتنت ادامه میدهد رفتهرفته انتظار کاربران افزایش مییابد که این دوربینهای کوچک باید دارای سنسورهای ثبت عکسی باشند که یا رزولوشن بالایی دارد یا پیسکلهای تشکیلدهندهی آنها دارای اندازهی بزرگی است؛ انجام یک یا هر دوی این کارها باعث میشود که نیاز به توسعهی سنسورهایی با اندازهی بزرگتر باشد. در کنار انجام اینکار، باید ارتفاع این ماژول دوربین بهگونهای باشد که بتوان بهراحتی از آن در دستگاههای قابل حملی مانند تلفن همراه یا تبلت استفاده کرد.
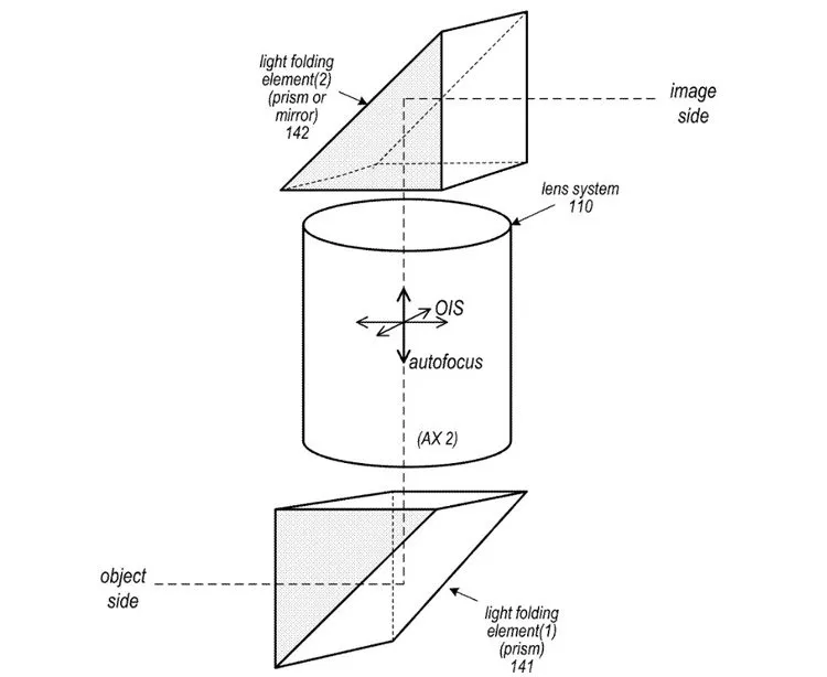
طرح مطرح شده توسط اپل در واقع نشان دهندهی یک سیستم لنز است که به گونهای برای استفاده در دوربین طراحی شده است که دارای منشور یا آینه قرار گرفته در بدنهی آیفون است که این منشور یا آینه میتواند بر روی یک یا تعداد بیشتری محور به طور آزادانه حرکت کند.
با وجود اینکه این پتنت ثبت شده توسط اپل ترکیب مختلفی از انواع لنزها و تعداد لنزها را توصیف میکند، اما به طور کلی طرح اپل از یک ایدهی اصلی پیروی میکند.
در این پتنت در توصیف این سیستم دوربین آمده است: «دوربین توسعه داده شده ممکن است دارای یک جزء فعالکننده باشد که وظیفهی حرکت سیستم لنزها را بر عهده داشته باشد». این پتنت همچنین ادامه میدهد که این سیستم دوربین دارای دو المان برای خم کردن مسیر نور است (مانند دو منشور یا یک منشور و یک آینه) و میتوانند که قابلیت زوم مناسبی را همانگونه که از لنزهای پریسکوپی انتظار میرود، ارائه دهد. این سیستم دوربین همچنین دارای لرزشگیر تصویر اپتیکال برای دوربین در هنگام ثبت تصاویر است.
مخترع این پتنت جدید اپل Yuhong Yao است. این شخص در گذشته هم پتنتهای مختلفی را دربارهی موضوع مشابه این پتنت به ثبت رسانده است. از جمله پتنتهای ثبت شده توسط این شخص میتوان به سری پتنتهای ثبت شده دربارهی سیستم لنزهای تاشو متشکل از سه، چهار یا پنج لنز منعکس کننده نور اشاره کرد.
منبع: Appleinsider