اپل دنبال روشی برای استفاده از باتری بزرگتر در آیفون است
به نظر میرسد اپل قصد دارد در آینده، در طراحی گوشیها و سایر محصولات خود روشی را در پیش بگیرد که به شرکت این اجازه را میدهد باتری بزرگتری برای آنها استفاده کند. بدین ترتیب احتمالا در آیفونهای سال آیندهی اپل شاهد افزایش ظرفیت باتری خواهیم بود.
اگر از کاربران گوشیهای اپل باشید، یک نکتهی آزاردهنده در رابطه با گوشیهای این شرکت را باتری ضعیف آنها میدانید. اپل در حالی به نسبت سایر شرکتها در زمینهی باتری عملکرد مناسبی ندارد که رفرشریت نمایشگر گوشیهایش هم 60 هرتزی است. با این حال با تکیه بر عملکرد خوب پردازندههای سری A، این مشکل برای برخی از گوشیهای شرکت آنقدرها محسوس نبود اما اپل باید روش جدیدی در طراحی گوشیهای خود اتخاذ میکرد تا بتواند ظرفیت باتری را افزایش دهد که گویا این اتفاق امسال و احتمالا با سری آیفون 13 رخ خواهد داد.
به گفتهی مینگچی کو، این طراحی جدید باعث میشود فضای بیشتری برای تعبیهی یک باتری بزرگتر بهوجود بیاید. اپل این کار را با ادغام اسلات سیمکارت با برد اصلی و کاهش اندازه و ضخامت برخی از قطعات داخلی انجام میدهد. بدین ترتیب فضای کافی برای تعبیهی باتری بزرگتر فراهم میشود و این موضوع نه فقط مختص آیفونهای بزرگتر خواهد بود بلکه برای آیفونهای کوچکتر هم صدق میکند. همین موضوع شاید باعث شود اپل همچنان در سری جدید، از آیفون 13 مینی هم رونمایی کند اما اینبار بدون مشکلاتی نظیر کم باتری.
اپل معمولا ظرفیت باتری گوشیهای خود را در جدول مشخصات آنها ذکر نمیکند اما بعد از کالبدشکافی گوشیهای آیفون 12 و 12 پرو توسط iFixit، متوجه شدیم برای این گوشیها که 6٫1 اینچی هستند، یک باتری 2815 میلیآمپر ساعتی در نظر گرفته شده که به نسبت کوچکترین گوشی از سری گلکسی S21 با اندازهی 6٫2 اینچ و باتری 4000 میلیآمپر ساعتی اصلا قابل مقایسه نیست. در واقع سؤال اینجاست که چطور سامسونگ توانسته از چنین باتری در گوشی نسبتا کوچکش استفاده کند اما اپل در این امر ناتوان است که گویا این مشکل به طراحی آیفونها بر میگردد.

شاید ظرفیت پایین باتریهای اپل در انجام کارهای معمولی آنقدر مشکلساز نباشد اما با ظهور فناوری 5G و نیاز اساسی آن به انرژی باتری، ضعف آیفونها را میتوان به شکل محسوستری متوجه شد. بسیاری از کاربران گوشیهای آیفون 12 از مصرف بالای انرژی این گوشی زمانی که به شبکهی 5G متصل بود گلهمند بودند. خصوصا آیفون 12 مینی با باتری 2227 میلیآمپر ساعتی که حتی در استفادهی معمولی هم عملکرد خوبی ندارد.
البته این موضوع یک نقطه ضعف دیگر هم دارد و آن، افزایش وزن گوشیهاست. اگرچه کاهش اندازه و ضخامت قطعات داخلی باعث کاهش وزن گوشی میشود اما این کاهش وزن با افزایش وزنی که در نتیجهی استفاده از باتری بزرگتر بوجود میاید قابل مقایسه نیست. با این حال به وضوح میتوان دید آنچه که اکنون برای کاربران گوشیهای هوشمند اهمیت دارد نه وزن گوشی بلکه ضخامت کم و ظرفیت بالای باتری است؛ کاری که بسیاری از شرکتها در حال انجام آن هستند و اپل هم به این مسیر قدم خواهد گذاشت. بنابراین اگر در نتیجهی این اتفاق اندکی هم به وزن گوشی اضافه شود، احتمالا کاربران را دلسرد نخواهد کرد.
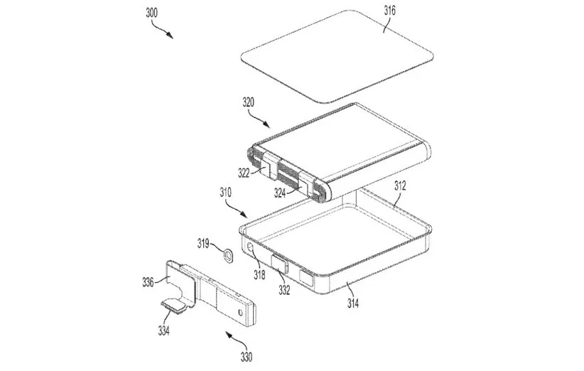
از اینها گذشته، اپل بهتازگی دو پتنت را هم به ثبت رسانده که از برنامههای شرکت برای افزایش ظرفیت باتری و کاهش مصرف انرژی محصولات آیندهی شرکت خبر میدهند. اولین پتنت که «Metal Can Battery» نام دارد، طراحی جدیدی را به تصویر میکشد که در آن، فاصلهی بین قطعات به حداقل میرسد. این قطعات هم باتری را کاملا احاطه میکنند اما در نتیجهی کاهش فضای خالی که بینشان وجود دارد، امکان استفاده از باتری بزرگتر هم فراهم میشود.

در توضیح این پتنت آمده که اپل باتری را با یک مادهی سخت و یا نیمه سخت (سخت اما انعطافپذیر) احاطه میکند. این ماده در نزدیکترین فاصله با قطعات داخلی قرار میگیرد اما به آنها صدمهای وارد نمیکند. همانطور که مشاهده میکنید، الکترودها توسط این مادهی سخت یا نیمه سخت احاطه شده و خود این ماده در کنارهها و حوالی الکترودها هم به شکل محکمی چفت و بست میشود. در نتیجه ولتاژی که در گوشههای پوشش دور باتری ایجاد میشود با قطعات اتصال پیدا نمیکند و آسیبی به آنها وارد نمیشود.
در حال حاضر شرکتها برای اینکه گوشههای باتری به سبب داشتن بار الکتریکی به قطعات برخورد نکرده و به آنها آسیب نزند، مجبور به کاهش سایز باتری شدهاند که باعث میشد دوام آنها هم کاهش داشته باشد. اما با این فناوری جدیدی که اپل در سر دارد، با استفاده از یک فلنج، میتوان میزان مواد اضافی را که باید در فضای در نظر گرفته شده برای باتری قرار بگیرند کاهش داد. در نتیجه فضا برای تعبیهی یک باتری بزرگتر هم فراهم میشود بدون اینکه نگرانی از بابت آسیب رساندن به قطعات دیگر وجود داشته باشد.
پتنت دوم «Methods for Determining and controlling battery expansion» نام دارد به این معنا که اپل در نظر دارد روشی را برای تعیین و کنترل تورم و باد شدن باتری استفاده کند. معمولا باتریهای شارژی، تا یک حد مجاز میتوانند متورم شوند و بعد از آن ممکن است خطرهایی نظیر انفجار را سبب شوند. در نتیجه اپل در نظر دارد به لطف یک فناوری جدید، به کاربر اطلاع دهد چه زمانی باتری از حد مجاز خود بیشتر متورم شده.
البته بعد از اینکه این مشکل بهوجود آمد، دستوراتی به پردازندهی مرکزی ارسال میشود تا در نتیجه از سرعت شارژ باتری متورم شده و همچنین میزان ولتاژ شارژ کاسته شود. به همین خاطر وقتی کاربر متوجه افت محسوس در سرعت شارژ گوشی میشود، خواهد فهمید که باتری بیش از حد مجاز متورم شده و باید آن را تعویض کند.
اینطور که به نظر میرسد، طی یکی دو سال آینده، ظرفیت و دوام باتری کمترین نگرانی کاربران آیفون خواهد بود چرا که بعد از چند سال مشکل در این زمینه، اپل بالاخره قصد دارد تصمیمات جدی را برای رفع مشکلات مربوط به باتری اتخاذ کند. اپل سال آینده باید در گوشیهای خود از نمایشگرهایی با رفرشریت 120 هرتز استفاده کند و این اتفاق با ظرفیت باتری کنونی باعث میشود رفرشریت 120 هرتز بیشتر یک قابلیت تبلیغاتی برای آیفونها باشد (برای مدلهایی با ظرفیت باتری پایین). بنابراین طبیعی است که شرکت کوپرتینویی به دنبال راهی برای بهبود شرایط خود در این زمینه باشد. حال اینکه آیفون 13 اولین گوشی با قابلیتهای یاد شده خواهد بود یا خیر موضوعی است که باید منتظر بمانیم تا مشخص شود.
منبع: PhoneArena ,Gizmodo