احتمال عرضه iMac های بعدی با صفحه کلید لیزری

زمان مورد نیاز برای مطالعه: ۱ دقیقه

صفحه کلیدهای لیزری مدت زمان زیادی است که در بازار دیده می‌شوند. به‌نظر می‌رسد که شرکت اپل می‌خواهد در iMac های جدیدش از این مدل صفحه کلیدها استفاده کند.

با توجه به پتنتی که اپل ثبت کرده، احتمال دارد iMacهای بعدی از صفحه کلید لیزری برخوردار باشند.

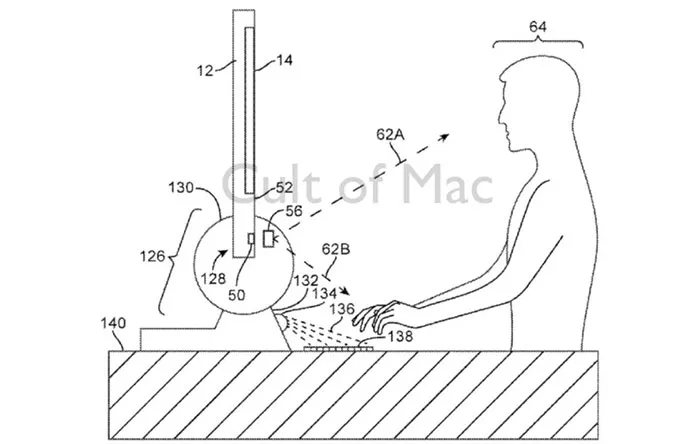
براساس اطلاعات منتشر شده از پتنت‌هایی که اپل ثبت کرده است این احتمال وجود دارد که این شرکت بخواهد به‌جای استفاده از صفحه کلید فیزیکی از صفحه کلید لیزری روی iMac های جدید استفاده کند. براساس تصویر منتشر شده، پروژکتور این صفحه کلید لیزری در قسمت پایینی iMac قرار گرفته است. درحالی که iMac ها جزو محصولات All in One به حساب می‌آیند، اما صفحه کلید و ماوس از محصول اصلی جدا بودند. اگر اپل از صفحه کلید لیزری برای این محصول استفاده کند، تنها ماوس از کامپیوتر اصلی جدا خواهد بود و همه چیز در یک مجموعه قرار گرفته است.

imac-keyboard-2

در ادامه مشخص شده که این پتنت تنها در iMac کاربرد نخواهد داشت و احتمال دارد که در آیفون، مک‌بوک، آیپد و اپل واچ استفاده شود.

در گذشته هم پتنت‌های زیادی از سوی اپل ثبت شده بود که هنوز خبری از اجرایی شدن آن‌ها نیست. باید منتظر باشیم و ببینیم که اپل در آینده قصد دارد چه ویژگی‌های جدیدی در iMac های خودش قرار دهد.

منبع: Uber Gizmo

برچسب‌ها :
دیدگاه شما

پرسش امنیتی *-- بارگیری کد امنیتی --

بازدیدهای اخیر

بر اساس بازدیدهای اخیر شما
تاریخچه بازدیدها مشاهده همه

دسته‌بندی‌های منتخب برای شما