سامسونگ پتنت گوشی با نمایشگر تاشوی سهلا ثبت کرد
در حالی که بیصبرانه منتظر هستیم سامسونگ از گوشیهای تاشوی گلکسی زد فولد 3 و زد فلیپ 3 رونمایی کند امروز خبری منتشر شد مبنی براینکه شرکت پتنت یک گوشی با نمایشگر تاشو سهلا را به ثبت رسانده.
سال 2019 سامسونگ تصمیم گرفت رسما به ساخت گوشیهای تاشو ورود کند و این کار را هم با گلکسی فولد انجام داد. محصولی که ضعفهای زیادی داشت و بسیاری از کاربران گمان کردند شرکت کرهای در این پروژه شکست خواهد خورد و رویای تولید گوشیهای هوشمند تاشو به چند سال دیگر موکول خواهد شد. اما این اتفاق نیفتاد چرا که سامسونگ مصممتر از آن چیزی بود که تصور میکردیم.
شرکت کرهای در سال 2020 نه تنها جانشین گلکسی فولد را بدون مشکل خاصی راهی بازار کرد بلکه تصمیم گرفت محصول دیگری را با قابلیت تاشوندگی عمودی با برند زد فلیپ تولید کند و امسال هم جانشینان این دو مدل با نامهای گلکسی زد فولد 3 و زد فلیپ 3 رونمایی میشوند. محصولاتی که تاکنون خبرهای زیادی در رابطه با آنها شنیدیم و باید انتظار قابلیتهای جذابی را در آنها داشته باشیم.
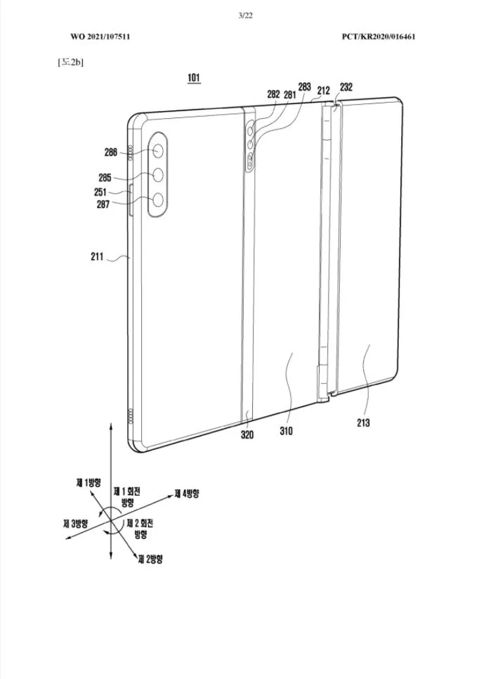
اما خبری که امروز منتشر شده در رابطه با محصولی است که فقط به پتنت آن دسترسی داریم. اما از همین پتنت هم میتوان فهمید محصول بعدی سامسونگ تا چه اندازه هیجانانگیز و جذاب است. در تصویری که از پتنت این گوشی رازآلود در اختیار داریم، میتوانید دستگاهی را مشاهده کنید که از یک نمایشگر تاشو با قابلیت تاشوندگی سهگانه بهره میبرد. البته اعدادی که اطراف دستگاه مشاهده میکنید ابعاد آن نیستند و از این بابت هم اطلاعی در اختیار نداریم اما به نظر میرسد این گوشی مورد انتظار در صورتی که باز شود، همان اندازهی گلکسی زد فولد 2 را خواهد داشت.
اما همانطور که در بالا اشاره شد، این گوشی از نمایشگری تاشو با دوبار امکان جمع شدن برخوردار است که برای جمع کردن آن هم دو لولا در نظر گرفته شده که یکی از آنها دستگاه را به سمت داخل جمع میکند، مانند گلکسی زد فولد 2 و گلکسی زد فلیپ 2. لولای خارجی اما به سمت بیرون نمایشگر را جمع میکند که ما را به یاد گوشی هواوی میت XS میاندازد که از نمایشگری با قابلیت تاشوندگی به سمت بیرون بهره میبرد. بدین ترتیب نیازی به تعبیهی نمایشگر ثانویه نخواهد بود و گوشی جدید سامسونگ برخلاف زد فولد 2، فقط از نمایشگری تاشو برخوردار خواهد بود.
بنابراین گوشی جدید و مورد انتظار سامسونگ در دو مرحله جمع شده و از دو لولا هم بهره میبرد که خب در تصویر هم کاملا واضح است این فرایند چگونه صورت میگیرد. دو محلی که با جمع شدن نمایشگر روی هم قرار میگیرند کاملا از لحاظ اندازه با یکدیگر برابر هستند و اینطور هم به نظر میرسد که حاشیهی زیادی دور آن وجود نداشته باشد. جالب اینجاست که به نظر میرسد دوربین سلفی هم روی این نمایشگر تعبیه شده در حالی که گفته میشود زد فولد 3 قرار است با دوربین سلفی زیر نمایشگر تاشو عرضه شود.
اما علاوه بر دوربین سلفی، به نظر میرسد دوربینهای دیگری هم برای این محصول در نظر گرفته شده که سهتای آن روی پنل پشتی گوشی و تعدادی از آنها نیز روی یکی از لولاها قرار گرفتهاند. به نظر میرسد از این دوربینها زمانی استفاده میشود که گوشی در حالت جمع شدن کامل قرار داشته و شبیه به یک گوشی معمولی است.
پنل پشتی این گوشی هم طراحی بسیار جالب و جذابی دارد. در بالا به این مورد اشاره شد که یک سری از دوربین ها روی لولاها تعبیه شدهاند و خب از نمای پشتی میتوانید بهخوبی ببینید سامسونگ آن را به این شکل طراحی کرده تا بخشی از نمایشگر که در حالت بسته، به نمایشگر بیرونی تبدیل میشود، در کنار این لولا قرار بگیرد. بدین ترتیب دیگر نیازی نخواهد بود یک دوربین سلفی دیگر هم روی نمایشگر در نظر گرفته شود. این دقیقا مشابه همان طراحی است که در گوشی تاشوی هواوی یعنی میت XS شاهد بودیم.
روی پنل پشتی همچنین میتوان دوربین سهگانه را مشاهده کرد که خب بدیهی است فعلا در رابطه با مشخصات آنها اطلاعی نداریم. علاوه بر اینها، روی کنارههای نمایشگر، بلندگو و پورت USB-C هم دیده میشوند. نکتهی قابل توجه در رابطه با طراحی این گوشی این است که لولاهای آن این امکان را به کاربر میدهند تا در هر زاویهای که در نظر دارد گوشی را باز کند. با توجه به پتنت، حتی میتوان آن را در حالت دسکتاپ باز کرد و با فعال کردن حالت دکس، تجربهای مشابه کار با یک لپتاپ را روی گوشی داشت. نکتهی جالب دیگر این است که بخش میانی پنل پشتی گوشی از قابلیت شارژ معکوس پشتیبانی میکند و کاربر میتواند لوازمی نظیر ایربادز را روی آن قرار داده تا شارژ شود.
اما خب سوال اصلی اینجاست که این گوشی در صورت وجود چه فایدهای خواهد داشت؟ سامسونگ برای امسال که قصد معرفی دو محصول تاشو را دارد و بعید به نظر میرسد محصول سومی در کار باشد. فعلا هم کاربران نتوانستند به طور کامل به گوشیهای تاشوی کنونی اعتماد کنند. حال سامسونگ در نظر دارد گوشی با نمایشگر سهگانه تاشو تولید کند. به نظر میرسد این طراحی مزیت چشمگیری به نسبت گوشیهای تاشوی کنونی نداشته باشد جز اینکه کاربر میتواند آن را به اندازههای دلخواه خود در بیاورد. مثلا وقتی گوشی به طور کامل بسته است آن را درون جیب قرار دهد و وقتی در حال حرکت است، تنها یک بخش را باز کرده و با نسبت تصویر 4:3 یا 1:1 (مانند تبلت) به استفاده از آن بپردازد یا وقتی هم که شرایط مناسب باشد، آن را به صورت کامل باز کرده و با نسبت 16:9 به کارهای خود بپردازد.
بدیهی است چنین طراحی نقاط ضعفهای زیادی خواهد داشت که از جمله مهمترین آن میتوان به افزایش ضخامت گوشی در حالت بسته بودن کامل اشاره کرد. افزایش وزن هم میتواند از دیگر مشکلاتی باشد که گریبانگیر این گوشی خواهد شد چون دو لولا باید برای آن در نظر گرفته شود. اما خب قبل از اینکه نگران نقاط قوت و ضعف باشیم، باید ببینیم آیا سامسونگ واقعا قصد دارد چنین محصولی را راهی بازار کند یا خیر.
بسیاری مواقع شرکتها فقط پتنت محصولی را ثبت میکنند اما هیچوقت شاهد آن نیستیم چرا که در پتنتها معمولا از فناوریهای کنونی فاصله گرفته میشود و به خودی خود کلی زمان میبرد تا آن را تولید کرد. بنابراین این پتنت هم میتواند در همان دسته قرار بگیرد. احتمالا این محصول یک تبلت خواهد بود و در سال 2022 تحت عنوان گلکسی زد فولد تب راهی بازار میشود. محصولی که اگرچه فعلا خبر خاصی در رابطه با آن منتشر نشده اما شایعاتی بوده مبنی براینکه اولین تبلت تاشوی سامسونگ چنین نامی خواهد داشت. همچنین میتوان این احتمال را داد که گوشیهای تاشوی سال آیندهی سامسونگ هم شاید از نمایشگر تاشو سهگانه بهره ببرند.
سامسونگ این یکی دو سال حسابی درگیر ثبت پتنت مربوط به گوشیهای تاشو بوده و حتی پیشتر هم شاهد پتنت محصولی با طراحی مشابه این مدل بودیم که میشد آن را دوبار جمع کرد. در آن طراحی، هر دو لولا به طرف بیرون جمع میشدند که در فضای بین آنها، قلم S-Pen هم قرار میگرفت. با این حال هنوز مشخص نیست برنامههای سامسونگ برای سال آینده چیست و آیا واقعا انقدر زود شاهد گوشیهایی با نمایشگر سهگانه تاشو خواهیم بود یا خیر.
منبع: PhoneArena







