پتنت اپل از آیفون تمامشیشهای حرف میزند
امسال شور و هیجان معرفی آیفون جدید نسبت به سالهای گذشته کمتر بود و این موضوع میتواند دلایل مختلفی داشته باشد. دو تا از مهمترین دلایل یکی این بود که بازار گوشیهای تلفن همراه این روزها آنقدر رنگارنگ و متنوع شده که برجسته شدن و به چشم آمدن برای مشتری کار چندان آسانی نیست و دیگری اینکه شایعات پیش از معرفی آیفون ۷ زیاد هم از ویژگیهای هیجانانگیز جدیدی حرف نمیزدند؛ از طراحی گرفته تا امکانات و فناوریهای جدید، آیفون ۷ چیز زیادی نسبت به نسل قبلی گوشیهای آیفون رو نکرده است.
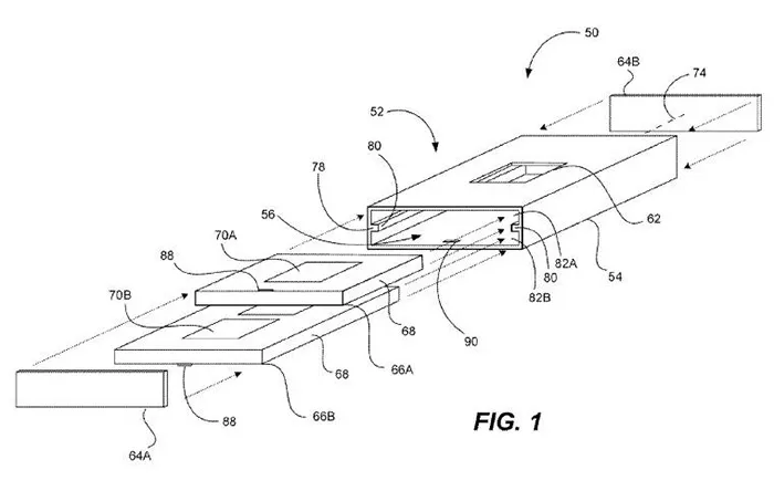
این پتنت در سال ۲۰۱۵ به ثبت رسیده و دربارهی شیوهی ساخت یک دستگاه آیفون سخن میگوید که تماما شیشهای است.
بههرحال اینطور که معلوم است محصولی که مشتریان را حسابی هیجانزده خواهد کرد، آیفون سال ۲۰۱۷ خواهد بود. دربارهی این گوشی گفته شده شکلی کاملا متفاوت خواهد داشت. یکی از ویژگیهایی که دربارهی این گوشی گفته میشود، این است که بدنهای تمامشیشهای دارد. اگر باورش برایتان سخت است، توجه شما را به پتنتی جلب میکنیم که گرچه جدید نیست، اما تازه به دستمان رسیده.

این پتنت در سال ۲۰۱۵ به ثبت رسیده و دربارهی شیوهی ساخت یک دستگاه آیفون سخن میگوید که تماما شیشهای است. در توضیحات پتنت نوشته شده: «این گوشی از یکسری مواد شیشهای ساخته میشود که میتوانند امواج را از خود عبور دهند.»
این بدنه میتواند از یک مجرای شیشهای توخالی ساخته شود یا اینکه متشکل از دو قطعهی شیشهای باشد که خم شده و روی هم قرار میگیرند. به اینترتیب حتما تدابیری هم اندیشیده میشود که دستگاه الکترونیکی مذکور قابلیت ضدآب پیدا کند.
مثل همیشه درمورد پتنتهایی که توسط اپل به ثبت میرسند نمیتوانیم با اطمینان بگوییم که آیا روزی به مرحلهی اجرا درمیآیند یا خیر. ممکن است مثل بعضی تجربیات سابق، هدف از این پتنت هم صرفا ثبت ایدهای در طراحی و ساخت دستگاههای الکترونیکی باشد.
به نظر میرسد تنها راه برای رسیدن به پاسخ دقیق این سوال این است که تا سال ۲۰۱۷ و آیفون –احتمالا- هیجانانگیزش صبر کنیم.
منبع: Ubergizmo

والا ما که از این پتنتا زیاد دیدیم.تا وقتی گوشی ساخته شده رو تو دستم نگیرم باور نمیکنم دیگه.
فلزی بود از وسط تا میشد…حالا دیگه چه بشه این کوپل
چطور ممکنه که هنوز موفق به ساخت نشده پتنت رو به ثبت رسونده؟ مگه میشه مگه داریم؟
دوست عزیز میشه معنی پتنت رو بگید؟ اول میسازن بعد پتنت رو ثبت میکنن؟!!! برادر اول پتنت رو ثبت میکنن که این ایده بنام اونات ثبت بشه و کس دیگه نتونه اون ایده رو رو کنه. در واقع یعنی اول من بودم که این ایده رو داشتم. حالا ممکنه اصلا یه پتنت ساخته نشه! شایدم بشه!
البته قبلا نوکیا بود که اولین بار ایده گوشی شیشه ای با قابلیت خم شدم داده
یادمه یک عکس هم داشت که سبز رنگ بود