سیستم دوربین آیفون تاشو در پتنت جدید اپل فاش شد
اپل بهتازگی پتنتی را با عنوان سیستم دوربین برای دستگاهی الکترونیکی قابل خم شدن ثبت کرده است. همانگونه که در خبرهای خواندهاید گزارشهای منتشر شده نشان میدهند که اپل با کمک تولید کنندهی اصلی آیفون، فاکسکان، در حال آزمایش و بررسی یکی از طرحهای ظاهری توسعه داده شده برای آیفون تاشو است.
همچنین گزارشهای منتشر شدهاند که نشان میدهند که اپل هر دو این طراحیهایی ظاهری را برای اطمینان از کارکرد و دوام آنها تحت آزمایش کنترل کیفیت قرار داده است. یکی از طرحهای توسعه داده شده برای آیفون تاشو همانند طراحی ظاهری گلکسی Z Fold 2 شبیه یک کتاب است که در زمان باز کردن این آیفون تاشو آن را تبدیل به آیپد میکند.
دومین طراحی ظاهری توسعه داده شده برای آیفون تاشو که گویا طراحی ظاهری دلخواه اپل هم هست، باعث میشود که آیفون تاشو شکل ظاهری مشابه موتورولا Razr و سامسونگ گلکسی Z Flip 5G داشته باشد.
بدون شک استفاده از طراحی ظاهری دوم با وجود اینکه باعث میشود بعد از باز کردن این آیفون تاشو این دستگاه به تبلت تبدیل نشود، اما باعث میشود که بتوان یک آیفون تاشو با نمایشگر بزرگی را توسعه داد که بتوان آن را بهراحتی در جیب قرار داد و در صورت نیاز با باز کردن این آیفون از نمایشگر بزرگ آن استفاده کرد.

همچنین استفاده از این طراحی باعث میشود که کاربران برای قطع کردن تماسهای خود بتوانند که این آیفون را ببندند که برای بسیاری از افراد انجام این کار و شنیدن صدای بسته شدن گوشی تجربهی خوشایندی خواهد بود.
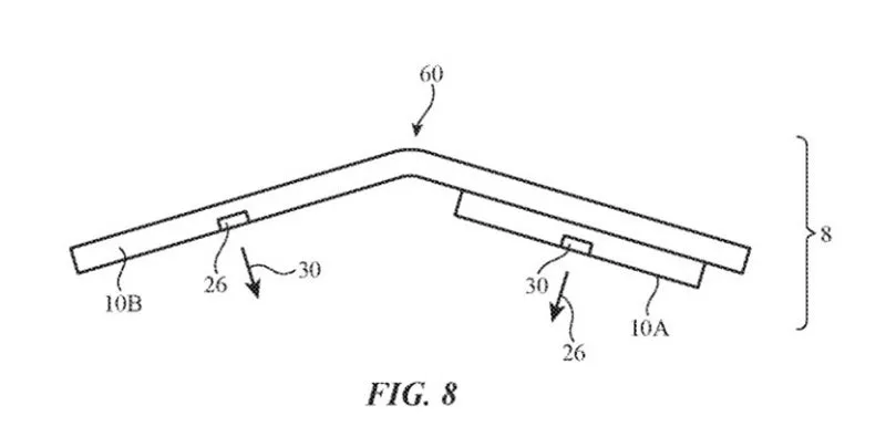
نگاهی به پتنت تازه ثبت شده توسط اپل نشان میدهد که اپل در این پتنت گفته است که این دستگاه الکترونیکی دارای قسمتی منعطف است که آن قسمت با استفاده از پارچهی منعطف، پیلمر منعطف یا دیگر مواد منعطف ساخته شده است و سیستم دوربین میتواند در این قسمت منعطف قرار بگیرد.
این پتنت همچنین نشان میدهد که این قسمت منعطف میتواند به گونههای متفاوتی خم شود. بهعنوان نمونه میتوان این ناحیه را بهگونهای خم کرد که سطح آن حالتی محدب و به سمت بیرون پیدا کند یا اینکه این سطح حالتی مقعر و رو به بیرون داشته باشد.
دوربینها به کار رفته در این قسمت منعطف ممکن است که بتوانند از ناحیههای مختلفی و با زاویههای متفاوتی عکاسی کنند. بهعنوان نمونه کاربران میتوانند با خم کردن این ناحیهی منعطف و تغییر جهت دوربینهای به کار رفته در این ناحیه، عکسهای سه بعدی یا عکسهای پانوراما را ثبت کنند.

این پتنت همچنین نشان میدهد که این دوربینها به صورت با سیم یا بدون سیم به دستگاه متصل خواهند بود. با توجه به این موضوع میتوانیم بگوییم که ممکن است این دوربینها به جای قرار داشتن بر روی گوشی بر روی قابی قرار داشته باشند که گوشی در داخل آن قرار میگیرد و این قاب به صورتی طراحی شده باشد که کاربران بتوانند آن را از گوشی جدا کنند.
به طور حتم استفاده از این طراحی و قرار دادن دوربینها به این شکل باعث میشود که کاربران در زمان ثبت عکس یا فیلمبرداری این کار را با خلاقیت بیشتری را انجام دهند. آخرین شایعههای منتشر شده نشان میدهند که اپل ممکن است در سال آینده از اولین آیفون تاشو رونمایی کند.
منبع: PhoneArena