سونی پتنت اسکنر سه‌بعدی برای انتقال اشیای واقعی به دنیای VR را ثبت کرد

زمان مورد نیاز برای مطالعه: ۲ دقیقه

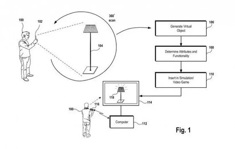
دنیای واقعیت مجازی/ ترکیبی بسیاری از شرکت‌های بزرگ فناوری را وادار کرده تا تجهیزات لازم برای تجربه‌ی هر چه بهتر کاربران را بسازند و در اختیار آن‌ها قرار دهند. سونی یکی از آن شرکت‌هاست که این روز‌ها خبراهای زیادی درباره‌ی تجهیزات واقعیت مجازی آن شنیده می‌شود. آخرین اطلاعات حاکی از آن است که این شرکت پتنتی را از یک اسکنر سه‌بعدی به ثبت رسانده که با اسکن کردن اشیاء از دنیای واقعی، آن‌ها را به دنیای VR منتقل می‌کند. این پتنت سونی برای اسکنر سه بعدی که می‌تواند اشیاء دنیای واقعی را در واقعیت مجازی قرار دهد چیز جدیدی نیست و در واقع اولین بار در تاریخ 23 ژوئن 2021 (1 تیر) به ثبت رسیده است.

اما از آنجایی که اداره ثبت اختراع، از سونی خواسته که اسناد را با جزئیات بیشتری ارائه دهد، این شرکت هم این کار را انجام داده است و ما معتقدیم که غول فناوری برای رسیدن به موفقیت در این حوزه از تکنولوژی تلاش بسیاری می‌کند. نسخه‌ی جدید این پتنت سونی که به اداره‌ی ثبت هم ارسال شده، اطلاعات خوبی از این اسکنر سه‌بعدی به ما می‌دهد. طبق اطلاعات این پتنت، اسکنر سه بعدی ممکن است برای قرار دادن اشیاء واقعی در دنیای مجازی استفاده شود، یا می‌توان از آن برای ترکیب بهتر محیط واقعی با دنیای مجازی استفاده کرد.

برای انتقال اشیاء واقعی به دنیای VR، لازم است تا این اسکنرها اشیاء را به طور کامل و 360 درجه اسکن کنند. این‌ها به دلخواه کاربر صورت می‌گیرد؛ یعنی کاربر می‌تواند هر وسیله‌ای که می‌خواهد اسکن کرده و بدین ترتیب آن را وارد فضای واقعیت مجازی کند. فکر کردن به این موضوع بسیار جالب و جذاب است و احتمالا نظر مثبت بسیاری از کاربران را به همراه خواهد داشت، اما به نظر می‌رسد تولید چنین دستگاهی مشکلات خاص خود را داشته باشد.

البته شایان ذکر است که همه‌ی پتنت‌های ثبت شده فقط ایده‌های مفهومی هستند و لزوما قرار نیست که همه‌ی آن‌ها به یک محصول واقعی تبدیل و روانه‌ی بازار شوند. باید اشاره کرد که شرکت سونی بخش‌های استفاده‌ شده‌ی این اسکنر را در توضیحات خود ذکر نکرده، اگر چه حدس زده می‌شود که این فناوری هم در بازی‌های ویدیویی و هم خارج از حوزه‌ی بازی‌ها استفاده خواهد شد.

پیش‌تر سونی در نمایشگاه CES 2022، از هدست پلی‌استیشن VR2 رونمایی کرد از طریق یک پورت USB-C به پلی‌استیشن 5 متصل می‌شود و از کنترلرهای جدیدی با نام VR2 سنس بهره می‌برد. طبق گفته‌های سونی، این سنسورهای جدید به‌گونه‌ای طراحی شده‌اند که بتوانند در لحظه، حرکات مختلف چشم را تشخیص دهند و تجربه‌ای نزدیک به واقعیت را در اختیار کاربر قرار دهند. با داغ شدن بحث تجهیزات دنیای واقعیت مجازی و ترکیبی، شرکت‌های سازنده در تلاش‌اند تا با ساخت محصولات جدید بتوانند بهترین تجربه را در اختیار کاربران قرار دهند. باید دید در آینده چه اخباری از محصولات واقعیت افزوده‌ی سونی و سایر شرکت‌های فناوری به گوش می‌رسد.

منبع: GSMArena

برچسب‌ها :
دیدگاه شما

پرسش امنیتی *-- بارگیری کد امنیتی --

بازدیدهای اخیر

بر اساس بازدیدهای اخیر شما
تاریخچه بازدیدها مشاهده همه

دسته‌بندی‌های منتخب برای شما