اسناد ثبت اختراع شارژر پوشیدنی اپل را نشان میدهند
اداره ثبت اختراع و نشان تجاری ایالات متحده آمریکا مطلبی منتشر کرده که نشان میدهد شرکت اپل سندی را درباره یک دستگاه شارژر گجتهای پوشیدنی الکترونیکی به ثبت رسانده است.
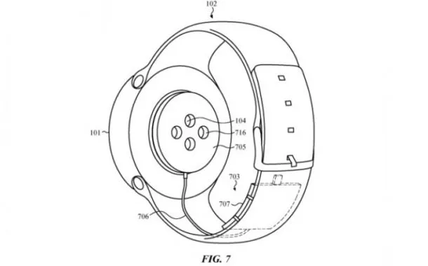
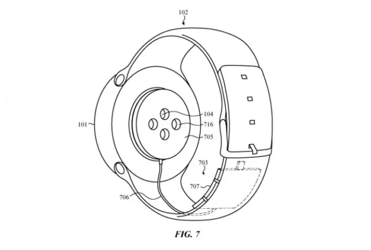
این سند درباره تولید یک شارژر القایی است که در بند اپلواچ استفاده میشود. طرحها نشان دهنده یک سیم کوچک است که در یک تسمه به یک باتری متصل میشود. خود تسمه هم نازک است، احتمالا به این دلیل که بتوان راحت آن را به دست بست و حمل کرد.
البته مشحص نیست که این ایده در عمل هم به کار خواهد رفت یا اپل صرفا آن را ثبت کرده تا شرکتهای دیگر نتوانند از آن استفاده کنند.
طرح به کار رفته در این سند ساعتی گرد را نمایش میدهد و این موضوع هم جالب است چون اپلواچ تا به حال همیشه مربعی بوده و این موضوع ممکن است نشان دهنده تغییر طرح این ساعت در آینده باشد. البته اپل سابقه این را دارد که طرحهایی ارائه دهد که با محصولات نهاییاش متفاوت باشند. با این حال تفاوت طرح اپلواچ با ساعتهای هوشمند فعلی شرکت اپل هم جالب توجه است.
در ادامه مطلب میتوانید تصاویر این اسناد را ببینید:
منبع: GSMArena


