اپل به آیفونی می‌اندیشد که با نمایشگرش بتوانید دیگر گجت‌ها را شارژ کنید

زمان مورد نیاز برای مطالعه: ۳ دقیقه

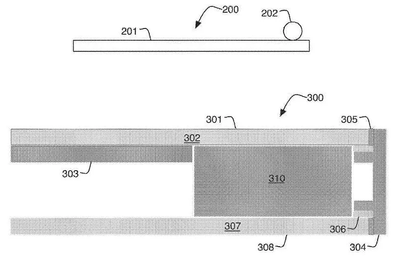
آیا امکان دارد که کاربران بتوانند قلم لمسی پنسل اپل را با قرار دادن روی نمایشگر گوشی‌های آیفون شارژ کنند؟ پتنت ثبت شده‌ی اپل در مارس 2021 (اسفند ماه 1399) نشان می‌دهد که این غول فناوری آمریکایی قصد دارد تا این ایده را به واقعیت تبدیل کند. این پتنت که به نام «شارژ بی‌سیم Trought Display Wireless» ثبت شده، جزئیات سیستمی را شرح می‌دهد که به یک دستگاه الکترونیکی شخصی مانند آیفون یا آیپد اجازه می‌دهد تا بتواند گجت‌های دیگر را از طریق صفحه‌نمایش خود شارژ کند.

به عبارت دیگر، این فناوری با هدف تبدیل صفحه‌نمایش به نقطه‌ی شارژ به دنبال افزایش دامنه‌ی شارژ معکوس است. یک دستگاه الکترونیکی شخصی (مثلا تبلت یا گوشی هوشمند) می‌تواند گجت‌های جانبی (مثلا قلم) را از طریق صفحه‌نمایش دستگاه به صورت بی‌سیم شارژ کند. این نقطه‌ی شارژ می‌تواند در قسمت خاصی از نمایشگر تعبیه شود که در دید کاربر مشکلی ایجاد نکند.

در قسمت دوم توضیحات این پتنت، اطلاعاتی نوشته شده که ما را کمی گیج می‌کند. این اطلاعات می‌گوید که بخشی از صفحه‌نمایش که برای شارژ مجدد اختصاص داده شده شفاف است و بنابراین در آن قسمت نمایشگری وجود ندارد. به عبارت دیگر، فضای اشغال شده توسط نقطه‌ی شارژ بخش مربوط به نمایشگر را کاهش می‌دهد. مگر اینکه اپل تصمیم بگیرد تا نمایشگر هیبریدی را برای این دیوایس‌ها انتخاب کند. همانطور که نمودارها اشاره می‌کنند، سیم پیچ شارژ درست زیر صفحه‌نمایش قرار می‌گیرد.

به هر حال، این فناوری می‌تواند به‌خصوص برای شارژ اپل واچ، ایرپادز یا قلم لمسی اپل با قرار دادن آن‌ها بر روی صفحه‌نمایش آیفون یا آیپد بسیار کاربردی و جالب باشد. از این نوآوری می‌توان در گوشی‌های هوشمند و تبلت‌ها که نمایشگر بزرگ‌تری دارند استفاده کرد تا امکان شارژ قلم یا لوازم جانبی دیگر به صورت بی‌سیم در جلوی دیوایس‌ها وجود داشته باشد. در ادامه‌ی توضیحات این پتنت آمده که: «[چنین] پیکربندی می‌تواند شامل تبلت یا گوشی هوشمندی باشد که به گونه‌ای پیکربندی شده که قلم یا لوازم جانبی دیگر به صورت بی‌سیم روی نمایشگر دستگاه الکترونیکی شخصی شارژ شود.»

برای یادآوری بد نیست خاطرنشان کنیم که شارژ نسل دوم قلم لمسی اپل پنسل با قرار دادن آن در کنار آیپدهای سازگار امکان پذیر است. به هر حال، این پتنت بیش از همه ثابت می‌کند که اپل به دوام صفحه‌نمایش خود اطمینان دارد، به ویژه به لطف گلس محافظ سرامیکی که برای استفاده از این نوع سیستم باید آن را در نظر گرفت. احتمال در آینده ما اخبار بیشتری از این نوع فناوری خواهیم شنید.

همان‌طور که احتمالا می‌دانید اپل به‌تازگی به دنبال نوآوری‌های ایجاد شده‌ی خود در دنیای علم و تکنولوژی پتنت‌های زیادی را به ثبت رسانده که برخی هم با حواشی زیادی همراه بوده است. از مهم‌ترین آن می‌توان به پتنت گوشی تمام شیشه‌ای اپل یاد کرد. طرح مفهومی دقیق این پتنت اپل از 6 نمایشگر تشکیل شده که در اصل، می‌تواند تصاویر را روی هر یک از 6 نمایشگر خود نمایش دهد. اپل در توضیحات این پتنت گفته بود: «طراحی گوشی تمام شیشه می‌تواند از چندین شیشه ساخته شده باشد که به هم چسبیده‌اند و تداعی‌گر ساختاری یکپارچه هستند یا این که از ابتدا از یک تکه شیشه پرداخته شده تولید شود. این گوشی در تمامی جهات خود نمایشگر خواهد داشت که می‌تواند توسط فورس تاچ یا تاچ معمولی کار کند.»

شارژ اپل

اپل در نو‌اوری‌های خود به فکر کاربران عینکی هم بود و در یکی از پتنت‌هایی که به نام خود ثبت کرده روی نمایشگری برای تصحیح دید کاربران عینکی کار می‌کند. این فناوری در مورد وسیله‌ای به نام عینک «حریم خصوصی» اطلاعاتی می‌دهد که فقط کاربران چنین عینکی قادر خواهند بود تا محتوای روی صفحه‌نمایش را تماشا کنند. به همین خاطر افرادی که در اطراف صفحه‌ی گوشی حضور دارند نمی‌توانند نگاهی پنهانی به محتوای نمایشگر داشته باشند. در تصاویر منتشر شده منتسب به این پتنت کادر تنظیماتی را نشان می‌دهد که به کاربر اجازه می‌دهد تا اطلاعات چشم خود را مانند شماره‌ی چشم و… را وارد و از یک کلید برای نشان دادن نقص‌های بینایی کاربر (نزدیک‌بینی، دوربین‌بینی، پیرچشمی، آستیگماتیسم) بهره ببرد.

شایان ذکر است که لزوما این پتنت‌ها به محصول واقعی و نهایی تبدیل نمی‌شوند، اما با ثبت این نوآوری‌ها در دنیای علم و فناوری این طور می‌توان استنباط کرد که غول‌های تکنولوژی دنیا همواره رو به جلو حرکت می‌کنند و برای رضایت هر چه بیشتر کاربران نهایت تلاش خود را به کار می‌برند. به نظر می‌رسد که در روز‌های آینده در مورد این پتنت‌های اپل و سایر شرکت‌ها اخبار بیشتری منتشر خواهد شد.

منبع: Gizchina

برچسب‌ها :
دیدگاه شما

پرسش امنیتی *-- بارگیری کد امنیتی --

بازدیدهای اخیر

بر اساس بازدیدهای اخیر شما
تاریخچه بازدیدها مشاهده همه

دسته‌بندی‌های منتخب برای شما